Menu
Cart 0

HO Scale Kadee #158-25 Bulk Scale Whisker Metal Couplers Medium Centerset 25 pr.

  • 6221
  • Save $ 10


OEM in Package/Box

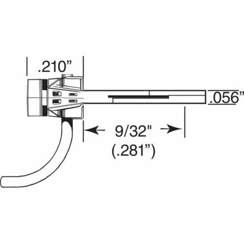
The #158 coupler will work anywhere a NO.5®, #28, #38, #58, #118, #119 & #148 Coupler will work..

This industry leading coupler features an all metal coupler head, shank, and Whisker® centering spring. The #158 Magne-Matic® Whisker® Metal Coupler may be mounted with the #213, #232, #234, #242, #252, #262 Gearboxes (not included) or with other manufacturers cast-on coupler pockets.